搬瓦工的OVZ套餐停售了,已售出的也会被停止续费,博主在今年5月买了一个512M的CN2 GT的KVM架构套餐,现在DC8被炒的很火,博主就试了一下,竟然也可以把机器迁到DC8机房,而且还给我换了一个IP(换IP、换IP、换IP),下面我就把我这个小鸡做一下整体的测评给大家,让大家看一下DC8机房的线路情况 。
NO1:机器配置
NO2:硬盘IO
IO确实还不错的。

NO3:下载测试
首先看国外节点

再看看国内的节点,这速度确实比较惊人。

NO4:Ping值
| 线路 | 最快节点 | 延时 | 最慢节点 | 延时 | 平均响应 |
| 电信 | 浙江绍兴 | 133ms | 新疆哈密 | 216ms | 166.6ms |
| 多线 | 上海 | 132ms | 河南郑州 | 171ms | 151.3ms |
| 联通 | 浙江嘉兴 | 132ms | 山西运城 | 212ms | 168.6ms |
| 移动 | 福建福州 | 172ms | 广东深圳 | 259ms | 215.5ms |
| 海外 | 美国 | <1ms | 俄罗斯 | 193ms | 104.2ms |
NO5:三网路由
我们看一下电信先,CN2 GIA

下面是移动的路由

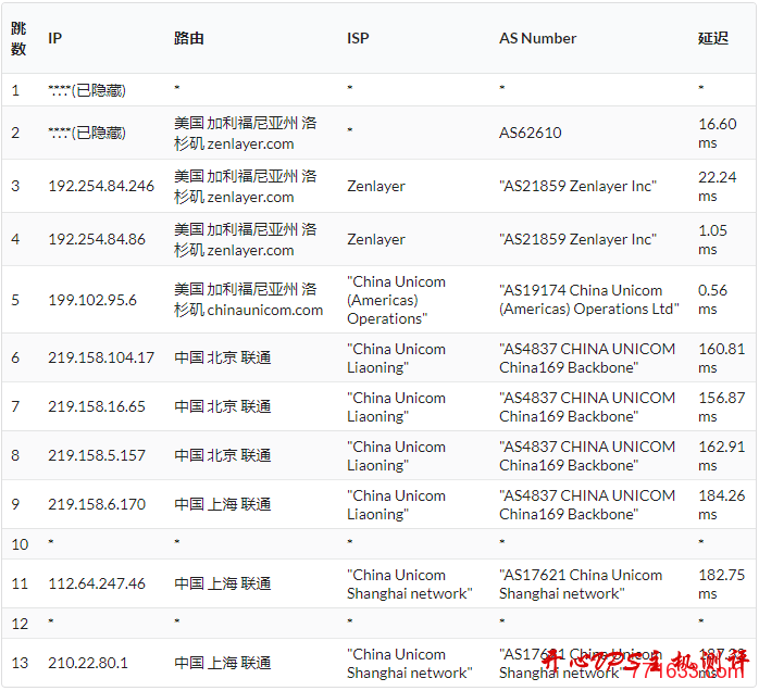
联通的也来

可以看到,全部都是直连线路。
NO6:视频速度
这是一个网友测评4K视频,如果网络好可以达到3W多,目前晚上高峰测试。


博悦天下











